BTC/HKD-1.93%
ETH/HKD-1.65%
LTC/HKD-1.81%
ADA/HKD-2.36%
SOL/HKD-1.17%
XRP/HKD-1.54%撰文:KevinYang、CaraCao、LeoZhu、DamonShen,均就職于數字資產管理公司IDEG
自年初以來,一場突如其來的疫情席卷全球。世界經濟繼4月「大封鎖」期間跌入衰退深淵之后,目前正在緩慢恢復。但隨著疫情繼續擴散,許多國家放慢了經濟重啟的進程,一些國家再度實施了部分封鎖措施以保護易感人群。世界銀行在今年6月份發布的《全球經濟展望》報告中預測,2020年全球經濟將下滑5.2%,是「二戰以來最嚴重的經濟衰退」。
為應對疫情在全球的蔓延以及資本市場的暴跌,各國央行采取了史無前例的「大放水」政策。3月15日,美聯儲宣布將利率降至零,并推出7000億美元的大規模量化寬松計劃。美聯儲總資產從2月底的4.16萬億美元迅速擴張至6月10日高峰時期的7.17萬億美元。截止10月28日,美聯儲總資產體量仍超過7萬億美元。
據MorganStanley的分析,2020年底G4國家央行總資產將達到25萬億美元。預計到2022年底,這一數字將進一步上升至29.30萬億美元。

數據來源:MorganStanley
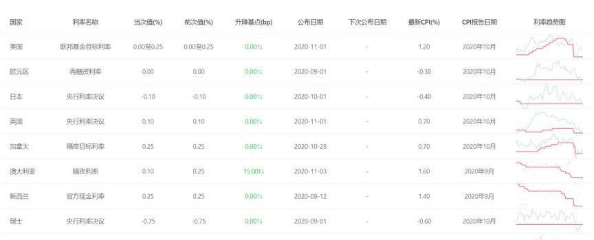
大放水的另一面是利率的大幅下降。據IDEG數據引擎顯示,主要的發達國家利率已跌破或趨近于0,其中瑞士央行利率甚至達到了不可思議的-0.75%。
以太坊網絡當前已銷毀近300萬枚ETH:金色財經報道,據Ultrasound數據顯示,截止目前,以太坊網絡總共銷毀2992206.89枚ETH。其中,OpenSea銷毀230050.33枚ETH,ETHtransfers銷毀263666.61枚ETH,Uniswap V2銷毀150916.41枚。
注:自以太坊倫敦升級引入EIP-1559后,以太坊網絡會根據交易需求和區塊大小動態調整每筆交易的BaseFee,而這部分的費用將直接燃燒銷毀。[2023/3/12 12:58:09]

數據來源:IDEG
以金磚國家為代表,發展中國家的利率也持續下降。

數據來源:IDEG
英國首相丘吉爾曾經說過:「永遠不要浪費一場危機。」在新冠疫情疊加大放水的時代,一部分SmartMoney借助數字資產,找到了機會更大的利率市場。
一、CeFi借貸市場概況
紅杉中國種子基金完成4.8億美元新基金募資 開始布局AIGC領域的早期企業:金色財經報道,紅杉中國種子基金宣布,旗下第三期種子基金已于去年完成 4.8 億美元募資。目前,紅杉種子管理規模近 150 億人民幣,是國內管理規模最大的早期基金之一,也是自 2018 年單列以來,紅杉中國五年中完成的第三支美元基金募集。
據介紹,紅杉種子主要面向種子輪到 A 輪的初創企業,過去幾年,紅杉種子重點布局了新能源與“雙碳”、EV 產業鏈、創新醫療技術、合成生物、金融科技、基礎軟件、機器人、設計和內容平臺、效率工具和新消費等具有科技驅動、結構性創新和高成長屬性的領域,當下也開始關注并開始布局 AIGC 領域的早期企業。(澎湃新聞)[2023/2/28 12:33:34]
我們說,2020年是「真正意義上的」數字資產投資的機構元年。這不僅體現在Grayscale信托產品總資產規模突破100億美元,更體現在數字資產借貸市場的急速發展。DeFi借貸項目的超高收益太過吸引眼球,以至于CeFi市場的發展被多數人所忽略了。
Credmark在關于借貸市場的二季度報告中,統計了85%的借貸公司數據。報告顯示,2020年第二季度CeFi存量貸款規模達46.32億美元,環比增長90.62%;同期抵押品價值突破80億美元,環比增長87.34%。
余弦:黑客可通過Seaport協議matchAdvancedOrders函數售賣被OpenSea拉黑的NFT:1月23日消息,慢霧科技創始人余弦在社交媒體上發文表示,被OpenSea標記拉黑的 NFT,黑客可以通過OpenSea Seaport協議的matchAdvancedOrders函數完成售賣。這樣就繞過了OpenSea的安全策略(拉黑不可售賣),不過這里需要有買家bid了offer。
此前BAYC第6大持有者Franklin在社交媒體上發文表示一周內兩次有人使用matchAdvancedOrders功能向其出售被標記為可疑活動審查中(黃色標記)的竊取 BAYC NFT。[2023/1/23 11:27:00]

數據來源:Credmark
機構客戶在CeFi借貸市場占據了主導地位。2020年第二季度,機構與散戶的存量貸款比為3.5:1;同期的機構與散戶抵押品價值比為2:1。從存量貸款與抵押品價值的比值差異中可以發現,機構客戶在質押率上確實有著非常明顯的優勢。

Polygon鏈上OpenSea Seaport獨立用戶量突破10萬:金色財經報道,據Dune Analytics最新數據顯示,Polygon鏈上基于開源NFT協議Seaport的OpenSea獨立用戶總數量已突破10萬個,本文撰寫時為102,910個,交易總額達到 21,127,287 美元。目前Polygon是OpenSea Seaport交易量第二大的區塊鏈,僅次于以太坊,當前以太坊鏈上交易額為1,896,631,130美元,獨立用戶數量超過92萬。[2022/10/30 11:58:06]
數據來源:Credmark
二、CeFi借貸市場的大玩家
GenesisTrading
GenesisTrading是DCG集團旗下的子公司,集OTC、衍生品、借貸、托管等多種業務于一身。Genesis的前身是SecondMarket的交易部門。DCG創始人BarrySilbert在2004年創立了私募股權交易平臺SecondMarket,為未上市企業員工與早期投資者所持有股權提供交易平臺,此后隨著Facebook等硅谷科技公司的發展而快速壯大,其股權業務在2015年被納斯達克交易所收購。而在此前幾年,BarrySilbert已經對比特幣產生了濃厚的興趣,曾在2012年拿出17.5萬美元的個人資金,以10美元的價格大量買入比特幣,并在價格達到50美元時分批賣出,巨大的收益令BarrySilbert決定對該市場采取更多的行動。BarrySilbert直接推動SecondMarket成立了Grayscale和GenesisTrading的雛形部門,并在此后SecondMarket被收購時保留了上述業務。2015年,BarrySilbert將這兩大板塊與個人的投資業務進行整合成立了DCG,正式開啟了自己在加密貨幣行業的「巨鯨」之路。
以太坊L2網絡總鎖倉量為49.1億美元 近7日跌幅5.01%:金色財經報道,L2BEAT數據顯示,截至6月10日,以太坊Layer2上總鎖倉量為49.1億美元。近7日跌幅5.01%,其中鎖倉量最高的為擴容方案Arbitrum,約24.7億美元,占比50.35%。其次是dYdX,鎖倉量9.5億美元,占比19.34%。Optimism占據第三,鎖倉量8.46億美元,占比17.23%。[2022/6/10 4:17:22]
Genesis在合規方面做足了功課,持有包括Broker-dealer、BitLicense等在內的一系列牌照。良好的合規性以及先發優勢,令Genesis成為了數字資產借貸市場當之無愧的領頭羊。今年第三季度,Genesis新增貸款量躍增52億美元,環比增長136%,刷新了單季度最大增量記錄。截止三季度末,存量貸款規模達21億美元,環比增長50%。

數據來源:GenesisTrading
在存款業務方面,Genesis也發展迅猛。今年第三季度,大量的機構投資人將資產存入Genesis。第三季度存款業務的機構客戶數量增至165個,環比增長47%,同比增長275%。

數據來源:GenesisTrading
此外,Genesis為了拓寬借貸、交易、托管等業務管線,先后收購了QuCapital和Vo1t。QuCapital是一家量化投資公司,在2019年9月被Genesis收購后,極大增強了Genesis在交易和借貸產品上的技術實力。2020年5月,Genesis又成功收購Vo1t,把托管業務也納入自己的版圖。自此,Genesis完成了最后一塊拼圖,將原有的各項業務集合成主經紀商業務。
BlockFi
BlockFi成立于2017年,并獲得了行業內多家頂級機構的投資,近兩年在歐美散戶借貸市場占據了相當大的份額。目前,BlockFi開始瞄準機構市場,同時也在亞太地區積極布局。創始人ZacPrince具有多年的在線借貸平臺從業經驗。有意思的是,在一次Reddit的AMA活動中,Zac還透露他是一位成功的職業撲克手。
今年8月份,BlockFi完成了5000萬美元C輪融資,由摩根溪領投,CMTDigital、CastleIslandVentures、WinklevossCapital等參投。公告稱,新資金將用于擴大團隊規模并進一步擴展BlockFi的業務范圍,包括即將發布的「比特幣返利」信用卡。另外,值得一提的是,BlockFi的托管商是Gemini,它獲得WinklevossCapital的投資也就不難理解了。

數據來源:IDEG
也許BlockFi在業務體量上還不是第一,但在業務創新能力方面卻出類拔萃。通過借貸業務的延伸,BlockFi成為了Grayscale比特幣信托最大的股東。截止2020年10月,BlockFi一共持有GBTC信托5.07%的份額。根據當時的市場價格計算,該筆資產約為3.28億美元。正如BlockFi創始人Zac所說,投資GBTC是其為更好服務客戶的努力之一。
DrawBridgeLending
DrawBridgeLending因其團隊深厚的傳統金融資歷以及股東背景,不得不引起行業的高度重視。DrawBridge成立于2018年,是美國商品期貨交易委員會CFTC認證的合規商品交易顧問、商品基金經理。DrawBridge團隊成員長期深耕于傳統金融行業,在交易、經紀、貸款、法律和金融方面擁有豐富經驗,并以衍生品投資策略的創新著稱。DrawBridge在結構化產品方面具有很強的業務能力,目前已推出數字資產商業貸款/高凈值人士個人貸款、混合投資貸款以及個人退休賬戶貸款。DrawBridge的貸款優勢在于低息且沒有「margincall」。據其官網披露的數據,截止2020年7月,DrawBridge的資產管理規模已突破1.5億美元。
2020年11月13日,美國數字資產商業銀行GalaxyDigital宣布收購DrawBridge以及另一家做市商BlueFireCapital。GalaxyDigital是全球首家專注于數字資產領域的多策略全方位商業銀行,經營包括投資、交易、咨詢、證券經紀、資產管理等多項業務。公司由華爾街傳奇億萬富豪MikeNovogratz創辦,立足于打造數字資產領域的「高盛」。MikeNovgratz曾是對沖基金巨頭峰堡投資集團的首席投資官。此次收購對于GalaxyDigitalTrading而言具有重要的戰略價值。GDT是GalaxyDigital的四條主業務線之一,每年的OTC交易量超過40億美元,在機構市場占據了不小的份額。通過收購DrawBridge,GalaxyDigital將大大提升在借貸和結構化理財產品方面的業務能力。
行業展望
除了上述的三家機構,數字資產借貸領域還有更多大家所熟識的玩家。如亞太地區就有貝寶金融、Matrixport、RenrenBit等多家機構,且占據了亞太市場的主要份額。而歐美地區的Coinbase、BitGo、甚至Blockchain.com等公司,也在積極開拓借貸市場。根據2020年11月24日的官方消息,日本金融巨頭SBI集團通過其子公司SBIVCTrade,正式推出數字資產借貸服務。隨著越來越多行業內外的機構入局,數字資產借貸行業開始進入激烈競爭的格局。
而在傳統市場玩家陸續進場之際,我們看到的是,兩個市場的資本在加速融合。大放水時代巨量的低成本資金,借道數字資產完成了利率套利,同時也造就了當前DeFi與CeFi市場的熱潮。未來的行業生態將猶如孢子游戲中的生物,以不斷涌入的傳統資本為催化劑,快速繁衍、迭代、進化。借貸市場的繁榮,也將極大提升數字資產在傳統世界的影響力,從而推動整個行業的可持續發展。
Tags:GenesisGENGENEGENESIncooom GenesisUniverse Crystal GeneGenesis Wink
在Web3.0的設想中,作為重要基礎設施之一,Filecoin是市場上最重要、最受關注的項目,在經歷了多次跳票之后,最受礦工社區關注的“SpaceRace”終于在8月25日上午六點啟動.
1900/1/1 0:00:00本文于2020年9月12日發布于公眾號BitpushNews,作者為LiangChe。1、“Coinbase受到了去中心化浪潮的影響”王東對《比推》表示,早在大約兩年前,Coinbase和路印團.
1900/1/1 0:00:00鏈捕手消息,中國裁判文書網近日公布了原告梁信軍與被告CircleFund、竇毅返還原物糾紛一審民事裁定書.
1900/1/1 0:00:00鏈捕手消息,據華爾街日報報道,洲際交易所旗下加密貨幣交易平臺Bakkt確認將與空白支票公司VPCImpactAcquisitionHoldings進行合并上市,合并后的公司估值將達21億美元.
1900/1/1 0:00:00鏈捕手消息,加密錢包及交易提供商Blockchain.com宣布完成1.2億美金融資,MooreStrategicVentures、HaymanCapitalManagement創始人KyleB.
1900/1/1 0:00:0012月17日,Cointelegraph中文舉辦線上訪談對話欄目HUB,本期主題為《預測2021:DeFi和公鏈的新景觀》.
1900/1/1 0:00:00